Hôm nay chúng ta sẽ cùng tìm hiểu về cách lắp đặt và bảo trì máy cấp khí tươi thu hồi nhiệt phòng đơn KCVENTS VT501.
1. Lắp đặt KCVENTS VT501 như thế nào?
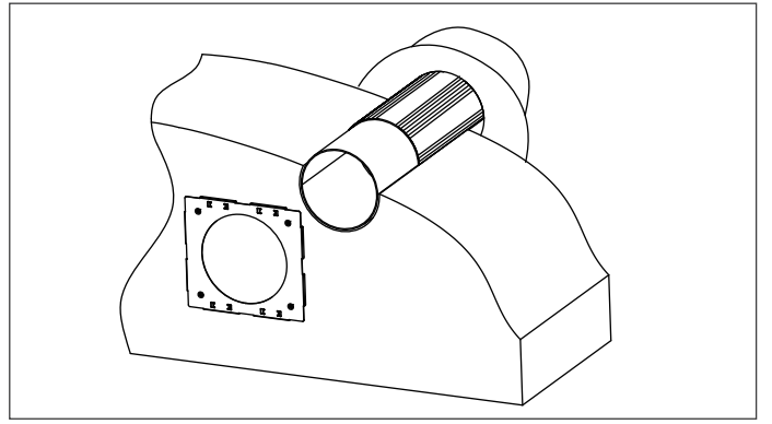
1.1 Chuẩn bị (hoặc khoan) một lỗ tròn xuyên qua tường. Kích thước lỗ có thể là 160-180mm.

1.2 Lắp ráp ống trong và ống ngoài với nhau sao cho phù hợp với độ dày của tường. Có thể cắt ngắn ống để tương thích với bức tường mỏng. Dán keo chống thấm vào mặt trong của vòng cao su, như hình bên dưới.

1.3 Xuyên qua lỗ tường từ trong nhà và kéo ống dẫn trở lại để làm cho vòng cao su mặt trong bám vào tường ngoài. Lấp đầy khoảng trống giữa tường và ống dẫn bằng keo xốp (Sử dụng keo dán chống thấm cho khoảng trống gần trong nhà để chống nước mưa). Ống bên trong phải song song với bề mặt tường trong nhà.

1.4 Dán miếng dán định vị lên bề mặt tường. Chú ý hướng để đảm bảo vòng tròn trên nhãn dán vị trí và ống dẫn đồng tâm. Đánh dấu vị trí lỗ khoan và tháo nhãn dán vị trí. Khoan lỗ 4 * 6 mm ở vị trí đánh dấu và cắm vít nở cao su.



#: Thận trọng!
Không được lắp đặt máy ở những vị trí mà ống dẫn khí có thể bị tắc do rèm, tủ đồ, màn che, v.v. để tránh bụi trong phòng lắng đọng và tích tụ. Ngoài ra, rèm cửa có thể cản trở luồng không khí bình thường trong phòng, do đó khiến hoạt động của máy cấp khí tươi không đạt hiệu quả.
2. Bảo trì VT501 như thế nào?
Ngắt kết nối máy cấp khí tươi khỏi nguồn điện trước khi thực hiện bất kỳ hoạt động bảo trì nào.
Bảo trì máy VT501 có nghĩa là thường xuyên làm sạch bụi trên bề mặt máy và làm sạch (hoặc thay thế) các bộ lọc.
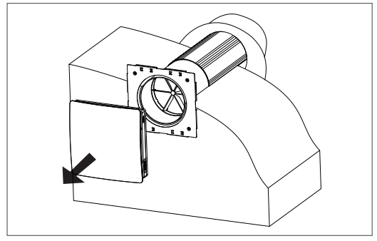
2.1 Bảo dưỡng quạt, kéo quạt ra.

Làm sạch các cánh quạt. Để loại bỏ bụi, hãy sử dụng bàn chải mềm, chổi hoặc máy hút bụi. Không sử dụng nước, chất tẩy rửa có tính ăn mòn, dung môi, vật sắc nhọn. Các cánh quạt phải được làm sạch mỗi năm ít nhất một lần (hoặc tùy vào môi trường sống của bạn)

2.2 Tái tạo và bảo trì bộ lọc. (4 lần mỗi năm)
- Tháo bộ chỉnh lưu luồng không khí, tháo bộ lọc thô.
- Kéo dây lõi gốm trao đổi nhiệt để tháo ra khỏi ống dẫn khí. Hãy cẩn thận khi kéo lõi gốm trao đổi nhiệt để tránh hư hỏng.
- Tháo bộ lọc thô phía sau lõi gốm.
Thay bộ lọc thường xuyên khi nó bị bẩn, ít nhất 4 lần một năm. Bạn có thể liên hệ với KCvents.vn để mua các bộ lọc dự phòng.
Ngay cả việc bảo trì kỹ thuật thường xuyên cũng không thể ngăn chặn hoàn toàn sự tích tụ bụi bẩn trên các cụm máy tái sinh. Hãy vệ sinh lõi gốm trao đổi nhiệt thường xuyên để đảm bảo hiệu suất trao đổi nhiệt cao. Làm sạch lõi trao đổi nhiệt bằng máy hút bụi ít nhất một lần trong một năm.

KCVENTS VT501 có thể lắp đặt trong các phòng nhỏ như văn phòng, phòng ngủ, phòng khách, căn hộ, phòng tắm, phòng học, v.v. và phù hợp với hầu hết các ngôi nhà. Máy cấp khí tươi thu hồi nhiệt phòng đơn VT501 của chúng tôi có thể sử dụng cho nhà mới hoặc nhà cũ.

Máy lọc không khí Cuckoo CAC-D2410FW (85m2)